알림

알림 내역

알림 신청내역/취소

로고 서울북부지방법원 본원 [경매9계] 2025타경12881
서울특별시 중랑구 면목동 379-8

서울 중랑구 면목동 379-8

주소복사
경매구분 공유물분할을위한경매
용도 단독주택
토지 109.1㎡(33평)
건물 -
감정가 1,028,438,840원
최저가 1,028,438,840원
보증금 102,850,000원 (10%)
청구액 0원
개시결정 2025년 07월 09일
감정일 감정평가서 분석 중
배당종기 2025년 09월 23일
매각일 2026년 01월 27일
2025타경12881
2025타경12881
2025타경12881
2025타경12881
2025타경12881
2025타경12881
2025타경12881
2025타경12881
2025타경12881
2025타경12881
2025타경12881
2025타경12881
감정가
10억2843만8840원
최저가
10억2843만8840원
공고 2026년 01월 27일 입찰 D-71일
신건선순위임차인형식적경매
신건선순위임차인형식적경매
경매구분 공유물분할을위한경매
용도 단독주택
토지 109.1㎡(33평)
건물 -
감정가 1,028,438,840원
최저가 1,028,438,840원
보증금 102,850,000원 (10%)
청구액 0원
개시결정 2025년 07월 09일
감정일 감정평가서 분석 중
배당종기 2025년 09월 23일
매각일 2026년 01월 27일
공고 2026년 01월 27일 입찰 D-71일

당사자 내역

신청인 오OO
상대방겸소유자 정OO
상대방겸소유자 정OO
상대방겸소유자 이OO
신청인겸소유자 오OO
교부권자 서OOOOOOOOOOOOOOO
임차인 정OO
임차인 황OO

기일 내역

2026.01.27
10억2843만8840원 진행

물건 비고(공고문)

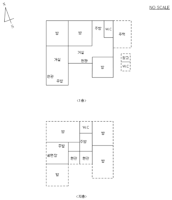
일괄매각. 제시외 건물 포함

임차인(매각 명세서)

정해웅:전 공유자로, 현 공유자 이종대가 전 경매절차에서 그 지분을 취득함.

물건 비고(매각 명세서)

일괄매각. 제시외 건물 포함

매각결과+

매각일자 / 결과 응찰자수 최고가 금액/응찰자명 차순위 금액
부동산
등기
임차인
그 외

부동산

매각목록

감정평가

주변 입주 예정

거리 단지명 공급년월 세대 수
※ 해당 자료는 한국부동산원 청약홈 자료에 근거하며, 인근 5km 이내의 물건을 기준으로 산정되었습니다.

등기

등기부현황

채권합계 -
등기일자 권리종류 권리자/채권액 권리
2025-07-09
(갑15)
임의경매개시결정
(2025타경12881)
오주희 소멸
말소기준
경매기입 등기
※ 신규 발급등기의 분석자료 반영에는 최대 1일까지 소요될수 있습니다.(등기분석,임차인분석,분석노트 등)

임차인

매각물건 명세서

구분 법원 사건번호 작성일자 매각명세서
1 서울북부지법 2025타경12881[1] 2025. 11. 7.
구분 법원/
사건번호
작성일자 매각명세서
1 서울북부지법
2025타경12881[1]
2025. 11. 7.

임차인(매각 명세서)

정해웅:전 공유자로, 현 공유자 이종대가 전 경매절차에서 그 지분을 취득함.

물건 비고(매각 명세서)

일괄매각. 제시외 건물 포함

임차인현황

임차인 보증금/차임 전입/확정/배당 대항력
[현황조사]
정해웅
(미상 임차인)
점유부분:
미상
보증:
미상
차임:
미상
전입: 2013-02-12
확정: 미상
배당: -
있음
(인수유의)
[현황조사]
황종희
(미상 임차인)
점유부분:
미상
보증:
미상
차임:
미상
전입: 2010-09-29
확정: 미상
배당: -
있음
(인수유의)

미납관리비 조사내역

확인일자 미납금액 관리소번호 메모

※ 해당 정보는 참고용으로 제공되며 입찰 전 반드시 관리사무소를 통해 직접 확인하시기 바랍니다.

시세

전문가

그외

관할법원 관할법원 (입찰장소)

서울북부지방법원 본원

경매9계 : 02-910-3114

서울 도봉구 도봉동 626 주소복사

Q&A Q&A

Q. 대법원경매가 무엇인가요?누구나 입찰에 참여할 수 있나요?

경매채무자(빌린 자)가 채무를 갚지 않았을 때 채권자(빌려준 자)의 신청으로 대법원이 채무자의 재산을 대신 매각하는 과정을 말합니다.

법원은 감정인에게 자산을 평가하게 한 후, 최저가를 정하여 그 금액 이상으로 입찰한 입찰자 중 최고가 매수인을 결정합니다.

대법원의 주관하에 국민 모두가 참여할 수 있습니다.

Q. 경매 입찰은 어떻게 하나요?누구나 입찰에 참여할 수 있나요?

1. 입찰하시고자 하는 경매물건을 정하신 후, 입찰하시고자 하는 입찰가를 최저가 이상으로 정합니다.

2. 해당 물건의 매각기일에 직접 관할법원에 방문하셔서 법원내에 비치된 입찰서를 작성하신 후 입찰하시면 됩니다.

TIP! 법원에 가실 때에는 입찰보증금(최저가의 10~30%)과 신분증을 지참하여 방문하세요.

Q. 용어가 너무 어려워서 내용을 이해하기 어려워요누구나 입찰에 참여할 수 있나요?

매각기일
매각기일은 경매 법원이 부동산에 대하여 매각 입찰을 진행하는 날을 말합니다.

유찰
매각 기일에 매수하고자 하는 사람이 없어 매각되지 않아 무효가 되는 것을 유찰이라고 합니다.

최저 매각 가격
최초 경매를 진행할때 감정인이 평가한 가격을 기준으로 책정한 금액이며 입찰자는 최저 매각 가격과 동일하거나 이상의 금액으로 입찰해야 합니다. 매각 기일에 있어 입찰자가 없어 유찰되면 통상 20~30% 저감된 금액이 다음 최저 매각 가격이 됩니다.

매수 보증금
경매 물건을 매수하고자 하는사람은 최저 매각 가격의 10분의 1(다르게 정해질 수 있음)에 해당하는 보증금액을 입찰표와 함께 집행관에게 제출하는 방법으로 제공합니다. 매각 절차가 종결된 후 집행관은 최고가 매수신고인이나 차순위매수신고인 이외의 매수신청인에게는 즉시 매수 보증금을 반환해 줍니다.

더 많은 내용을 알고 싶다면 경매마당 학습하기 코너에 준비된 용어설명을 이용해보세요.

경매정보는 법원자료와 일치하도록 하였으나 권리사항변동, 입력착오 등의 원인으로 사실과 다를 수 있습니다. 이용약관에 의거 면책조건으로 제공됨을 알리며, 경매입찰시 반드시 관련 공부를 재확인하시기 바랍니다.

PC버전으로 보기