알림

알림 내역

알림 신청내역/취소

로고 대전지방법원 홍성지원 [경매4계] 2024타경18768
충청남도 홍성군 홍성읍 문화로33번길 25

충남 홍성군 홍성읍 옥암리 235

주소복사
경매구분 임의경매
용도 상가
토지 463㎡(140.1평)
건물 539.4㎡(163.2평)
감정가 968,895,800원
최저가 474,759,000원
보증금 47,480,000원 (10%)
청구액 628,746,765원
개시결정 2024년 07월 03일
감정일 2024년 07월 16일
배당종기 2024년 09월 19일
매각일 2025년 04월 29일
2024타경18768
2024타경18768
2024타경18768
2024타경18768
2024타경18768
2024타경18768
2024타경18768
2024타경18768
2024타경18768
2024타경18768
2024타경18768
2024타경18768
2024타경18768
2024타경18768
2024타경18768
2024타경18768
2024타경18768
2024타경18768
2024타경18768
2024타경18768
2024타경18768
2024타경18768
2024타경18768
2024타경18768
2024타경18768
2024타경18768
2024타경18768
2024타경18768
2024타경18768
감정가
9억6889만5800원
최저가 51%
4억7475만9000원
기각 2025년 04월 29일
유찰 3회
유찰 3회
경매구분 임의경매
용도 상가
토지 463㎡(140.1평)
건물 539.4㎡(163.2평)
감정가 968,895,800원
최저가 474,759,000원
보증금 47,480,000원 (10%)
청구액 628,746,765원
개시결정 2024년 07월 03일
감정일 2024년 07월 16일
배당종기 2024년 09월 19일
매각일 2025년 04월 29일
기각 2025년 04월 29일

당사자 내역

소유자 이OO
채권자 주OOOOOOOOOOOOOOOOOOOOOOOOOO
채무자 이OO
승계인 주OOOOOOOOOOO
교부권자 홍OO
교부권자 대OOOOOOO
교부권자 국OOOOOOOOOOOO
교부권자 홍OOOO
교부권자 대OOOO
배당요구권자 대OOOOOOOO
임차인 주OOOOOOOOO
임차인 박OOO
임차인 이OO
임차인 전OO
임차인 신OO
근저당권자 홍OOOOOOOO
전세권자 홍OO
근저당권부질권자 제OOOOOOOOOOOO
교부권자 대OOOOOOO

기일 내역

기각
2025.04.29(10:00)
4억7475만9000원 유찰
2025.02.18(10:00)
6억7822만7000원 유찰
2025.01.14(10:00)
9억6889만5800원 유찰

물건 비고(공고문)

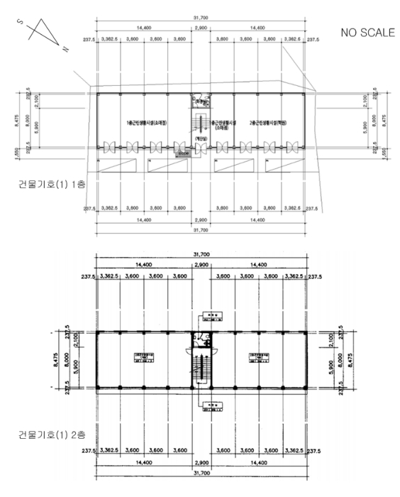
-.일괄매각 -.목록 1.은 1층~3층 근린생활시설 용도로 이용중이며(1층은 6개의 호실,2,3층도 호실로 나누어져 있음,현황조사보고서 참조),건물 등기사항전부증명서 상 1층-소매점, 2층-학원이나, 일반건축물대장 상 일부 용도변경 되어 1층-소매점, 학원, 2층 -일반음식점, 학원임. 목록 2. 현황은 '상업용'으로 이용중이며 동측으로 노폭 약 10미터 내외의 포장도로에 접함.

임차인(매각 명세서)

<비고>
박푸른들 : 상가임대차를 재갱신한것으로 보이며, 권리신고 및 배당요구신청서에 첨부한 상가건물임대차현황서에 의하면 계약
기간은 2024.03.19.부터 2026.03.19.까지임.
이호준 : 권리신고 및 배당요구서에 첨부한 임대차계약서에 의하면 임대기간은 2017.03.01.부터 2019.02.28.까지 이며, 첨부한
임차보증금반환이행확약서에 의하면 2024.09.19까지 전세계약이 종료한다고 기재됨. 사업자등록신청일이 2016.02.10.로 기재되
어 있으나 상가건물임대차현황서등은 제출하지 않았으며, 현황조사보고서에 첨부된 상가건물임대차 현황서에는 임차인으로 기
재가 안되어 있음.

물건 비고(매각 명세서)

-.일괄매각
-.목록 1.은 1층~3층 근린생활시설 용도로 이용중이며(1층은 6개의 호실,2,3층도 호실로 나누어져 있음,현황조사보고서 참조),건
물 등기사항전부증명서 상 1층-소매점, 2층-학원이나, 일반건축물대장 상 일부 용도변경 되어 1층-소매점, 학원, 2층 -일반음
식점, 학원임.
목록 2. 현황은 '상업용'으로 이용중이며 동측으로 노폭 약 10미터 내외의 포장도로에 접함.

현황 조사(현황 조사서)

- 본 부동산은 3층 상가건물이며 공용승강기는 설치되어있지않음. - 부동산 1층에는 6호실이 소재하고 있으며 계단기준 서측 2호실, 동측 4호실이 있으며 서측에는 미용실과 공실이 있고 동측에는 사무실, 학원, 점포, 공실이 있음. - 2층과 3층 각각 동측과 서측으로 호실이 소재하고 있으나 내부는 확인되지않음. - 위 임차인 전선영의 임대차내역은 현지출장시 만나 제출한 임대차계약서와 상가건물임대차 현황서를 토대로 조사하였음. - 위 임차인 이호준은 현지출장시 만나 제출한 별첨 임대차계약서를 바탕으로 등재하였으나 이호준의 구술에 의하면 현재 아직 점유를 하고 있어 등재함. - 별첨 상가건물임대차 현황서와 같이 미확인 임차인 신복순, 주식회사 이반미라클이 등록되어 있어 임차인으로 등재하였는바, 상세 임대차내역에 대하여 추후 별도의 확인을 요함.

점유 조사(현황 조사서)

[목록1]- 부동산 1층의 일부는 미용실과 기타 점포로 이용중이며 미용실 부분 임차인 전선영 외에 폐문부재로 임차인 등 이해관계인을 만날 수 없어 상세점유나 임대차 내역을 알 수 없음.
- 부동산 2층은 폐문부재로 임차인 등 이해관계인을 만날 수 없어 상세점유나 임대차 내역을 알 수 없음.
- 부동산 3층은 현황 표시 301호와 302호로 구분되어있으며 폐문부재로 임차인 등 이해관계인을 만날 수 없어 상세점유나 임대차 내역을 알 수 없음.
- 별첨 전입세대확인서 내역과 같이 전입세대 없음.
- 별첨 상가건물임대차 현황서와 같이 확인된 임차인 외에 미확인 임차인인 신복순과 주식회사 이반미라클이 등록되어있어 임차인으로 등재함.
- 본 부동산 1층 사무실에서 만난 임차인 이호준을 만나 임대차계약서를 제출하여 임차인으로 등재함.

매각결과+

매각일자 / 결과 응찰자수 최고가 금액/응찰자명 차순위 금액
부동산
등기
임차인
그 외

부동산

매각목록

※ 건축물 도면은 ‘건축물 대장의 기재 및 관리에 관한 규칙’ 에 따라 현재 경매가 진행중인 물건에만 제공됩니다.
※ 지분물건의 경우 면적은 지분에 해당하는 면적이 아닌 전체 면적으로 표기됩니다

감정평가

감정평가서 요약

1) 위치 및 주위환경 본건은 충청남도 홍성읍 옥암리 소재 "홍성경찰서"북서측 인근에 위치하며, 주위는 아파트, 다세대, 근린생활시설 및 학교 등이 혼재하는 지역으로서, 제반 주위환경은 보통임. 2) 교통상황 본건까지 차량이 접근이 가능하고 인근에 노선버스정류장이 소재하는 등 제반 교통사정은 보통임. 3) 형태 및 이용상태 본건은 인접지 대비 대체로 등고평탄한 가장형의 토지로 현황 "상업용"으로 이용중임. 4) 인접 도로상태 본건 동측으로 노폭약 10 미터 내외의 포장도로에 접함. 5) 토지이용계획 및 제한상태 도시지역, 제2종일반주거지역, 소로1류(폭 10m-12m)(2018-02-28)(접합), 가축사육제한구역(전부제한구역(도시지역))<가축분뇨의 관리 및 이용에 관한 법률>, 하수처리구역<하수도법>. 6) 제시목록 외의 물건 - 7) 공부와의 차이 - 8) 기타참고사항(임대관례 및 기타) - 1) 건물의 구조 기호(1) : 일반철골조 (철근)콘크리트지붕 3층 건물로서, 외벽 : 석재붙임 마감 등. 내벽 : 몰탈위 페인팅 마감 등. 창호 : 새시 창호 마감 등. 2) 이용상태 기호(1) : 1층-3층 - 근린생활시설 용도로 이용중임. 3) 설비내역 기본적인 위생설비, 전기설비, 급배수설비 등 되어 있음. 4) 부합물 및 종물 - 5) 공부와의 차이 - 6) 기타참고사항(임대관례 및 기타) -

주변 입주 예정

거리 단지명 공급년월 세대 수
※ 해당 자료는 한국부동산원 청약홈 자료에 근거하며, 인근 5km 이내의 물건을 기준으로 산정되었습니다.

등기

등기부현황

채권합계 1,289,000,000원(3건)
등기일자 권리종류 권리자/채권액 권리
2007-07-25
소유자 이복한 (소유자)
단독소유 -
2012-03-29
(을4)
근저당권설정 홍성축산업협동조합 소멸
말소기준 등기 500,000,000원
2014-06-10
(을9)
전세권설정 홍성군 소멸
- 45,000,000원
2022-09-19
(을20)
근저당권설정 한빛신용협동조합 소멸
- 744,000,000원
2024-10-15
(을20-1)
근저당권이전 주식회사가온엔피엘대부 소멸
- -
2024-10-15
(을20-2)
근질권 제이비우리캐피탈주식회사 소멸
- 744,000,000원
2024-07-03
(갑8)
임의경매개시결정
(2024타경18768)
한빛신용협동조합 소멸
경매기입 등기 628,746,765원
2024-10-15
(갑9)
압류 홍성군 소멸
- -
더보기 더보기
※ 신규 발급등기의 분석자료 반영에는 최대 1일까지 소요될수 있습니다.(등기분석,임차인분석,분석노트 등)

임차인

매각물건 명세서

구분 법원 사건번호 작성일자 매각명세서
1 홍성지원 2024타경18768[1] 2025. 3. 6.
2 홍성지원 2024타경18768[1] 2024.11.26
3 홍성지원 2024타경18768[1] 작성일자 미확인
구분 법원/
사건번호
작성일자 매각명세서
1 홍성지원
2024타경18768[1]
2025. 3. 6.
2 홍성지원
2024타경18768[1]
2024.11.26
3 홍성지원
2024타경18768[1]
작성일자 미확인

임차인(매각 명세서)

<비고>
박푸른들 : 상가임대차를 재갱신한것으로 보이며, 권리신고 및 배당요구신청서에 첨부한 상가건물임대차현황서에 의하면 계약
기간은 2024.03.19.부터 2026.03.19.까지임.
이호준 : 권리신고 및 배당요구서에 첨부한 임대차계약서에 의하면 임대기간은 2017.03.01.부터 2019.02.28.까지 이며, 첨부한
임차보증금반환이행확약서에 의하면 2024.09.19까지 전세계약이 종료한다고 기재됨. 사업자등록신청일이 2016.02.10.로 기재되
어 있으나 상가건물임대차현황서등은 제출하지 않았으며, 현황조사보고서에 첨부된 상가건물임대차 현황서에는 임차인으로 기
재가 안되어 있음.

물건 비고(매각 명세서)

-.일괄매각
-.목록 1.은 1층~3층 근린생활시설 용도로 이용중이며(1층은 6개의 호실,2,3층도 호실로 나누어져 있음,현황조사보고서 참조),건
물 등기사항전부증명서 상 1층-소매점, 2층-학원이나, 일반건축물대장 상 일부 용도변경 되어 1층-소매점, 학원, 2층 -일반음
식점, 학원임.
목록 2. 현황은 '상업용'으로 이용중이며 동측으로 노폭 약 10미터 내외의 포장도로에 접함.

임차인현황

임차인 보증금/차임 전입/확정/배당 대항력
박푸른들
(기타임차인)
점유부분:
1 층 6호(25 m2)
보증:
10,000,000
차임:
300,000
전입: 2024-09-30
확정: 2024-09-30
배당: 2024.9.30.
-
[현황조사]
신복순
(미확인임차인임차인)
점유부분:
미상
보증:
5,000,000
차임:
300,000
사업: 2020-07-21
확정: -
배당: -
-
이호준
(점포임차인)
점유부분:
1층 30m2
보증:
35,000,000
차임:
-
사업: 2016-02-10
확정: -
배당: 2024.8.7.
-
전선영
(점포임차인)
점유부분:
건물 정면 1층 좌측으 로 부터 2칸
보증:
10,000,000
차임:
500,000
사업: 2020-08-11
확정: 2020-08-11
배당: 2024.9.13.
-
[현황조사]
주식회사 이반미라클
(미확인임차인임차인)
점유부분:
미상
보증:
5,000,000
차임:
400,000
사업: 2023-05-04
확정: -
배당: -
-
홍성군
(기타전세권자)
점유부분:
3층 북쪽 134.3 m2
보증:
45,000,000
차임:
-
전입: 2014-06-09
확정: -
배당: 2024.9.12.
-

현황 조사서

조사일시

2024년07월15일14시21분

부동산의 현황

- 본 부동산은 3층 상가건물이며 공용승강기는 설치되어있지않음. - 부동산 1층에는 6호실이 소재하고 있으며 계단기준 서측 2호실, 동측 4호실이 있으며 서측에는 미용실과 공실이 있고 동측에는 사무실, 학원, 점포, 공실이 있음. - 2층과 3층 각각 동측과 서측으로 호실이 소재하고 있으나 내부는 확인되지않음. - 위 임차인 전선영의 임대차내역은 현지출장시 만나 제출한 임대차계약서와 상가건물임대차 현황서를 토대로 조사하였음. - 위 임차인 이호준은 현지출장시 만나 제출한 별첨 임대차계약서를 바탕으로 등재하였으나 이호준의 구술에 의하면 현재 아직 점유를 하고 있어 등재함. - 별첨 상가건물임대차 현황서와 같이 미확인 임차인 신복순, 주식회사 이반미라클이 등록되어 있어 임차인으로 등재하였는바, 상세 임대차내역에 대하여 추후 별도의 확인을 요함.

점유 조사

[목록1]- 부동산 1층의 일부는 미용실과 기타 점포로 이용중이며 미용실 부분 임차인 전선영 외에 폐문부재로 임차인 등 이해관계인을 만날 수 없어 상세점유나 임대차 내역을 알 수 없음.
- 부동산 2층은 폐문부재로 임차인 등 이해관계인을 만날 수 없어 상세점유나 임대차 내역을 알 수 없음.
- 부동산 3층은 현황 표시 301호와 302호로 구분되어있으며 폐문부재로 임차인 등 이해관계인을 만날 수 없어 상세점유나 임대차 내역을 알 수 없음.
- 별첨 전입세대확인서 내역과 같이 전입세대 없음.
- 별첨 상가건물임대차 현황서와 같이 확인된 임차인 외에 미확인 임차인인 신복순과 주식회사 이반미라클이 등록되어있어 임차인으로 등재함.
- 본 부동산 1층 사무실에서 만난 임차인 이호준을 만나 임대차계약서를 제출하여 임차인으로 등재함.

1
소재지 충청남도 홍성군 홍성읍 문화로33번길 25
점유인 신복순(임차인)
점유부분 미상(기타)
점유기간 미상
보증금/차임 5,000,000/300,000
전입/확정일자 2020.07.21/미상
2
소재지 충청남도 홍성군 홍성읍 문화로33번길 25
점유인 전선영(임차인)
점유부분 1층 일부분(점포)
점유기간 2020.08.10.~2022.08.09.
보증금/차임 10,000,000/500,000
전입/확정일자 2020.08.11/2020.08.11
3
소재지 충청남도 홍성군 홍성읍 문화로33번길 25
점유인 주식회사 이반미라클(임차인)
점유부분 미상(기타)
점유기간 미상
보증금/차임 5,000,000/400,000
전입/확정일자 2023.05.04/미상
4
소재지 충청남도 홍성군 홍성읍 문화로33번길 25
점유인 이호준(임차인)
점유부분 1층 일부분(점포)
점유기간 2017.03.01.~2019.02.28.
보증금/차임 35,000,000/미상
전입/확정일자 미상/미상

조사일시

2024년07월15일14시21분

부동산의 현황

- 본 부동산은 3층 상가건물이며 공용승강기는 설치되어있지않음.
- 부동산 1층에는 6호실이 소재하고 있으며 계단기준 서측 2호실, 동측 4호실이 있으며 서측에는 미용실과 공실이 있고 동측에는 사무실, 학원, 점포, 공실이 있음.
- 2층과 3층 각각 동측과 서측으로 호실이 소재하고 있으나 내부는 확인되지않음.
- 위 임차인 전선영의 임대차내역은 현지출장시 만나 제출한 임대차계약서와 상가건물임대차 현황서를 토대로 조사하였음.
- 위 임차인 이호준은 현지출장시 만나 제출한 별첨 임대차계약서를 바탕으로 등재하였으나 이호준의 구술에 의하면 현재 아직 점유를 하고 있어 등재함.
- 별첨 상가건물임대차 현황서와 같이 미확인 임차인 신복순, 주식회사 이반미라클이 등록되어 있어 임차인으로 등재하였는바, 상세 임대차내역에 대하여 추후 별도의 확인을 요함.

점유 조사

[목록1]- 부동산 1층의 일부는 미용실과 기타 점포로 이용중이며 미용실 부분 임차인 전선영 외에 폐문부재로 임차인 등 이해관계인을 만날 수 없어 상세점유나 임대차 내역을 알 수 없음.
- 부동산 2층은 폐문부재로 임차인 등 이해관계인을 만날 수 없어 상세점유나 임대차 내역을 알 수 없음.
- 부동산 3층은 현황 표시 301호와 302호로 구분되어있으며 폐문부재로 임차인 등 이해관계인을 만날 수 없어 상세점유나 임대차 내역을 알 수 없음.
- 별첨 전입세대확인서 내역과 같이 전입세대 없음.
- 별첨 상가건물임대차 현황서와 같이 확인된 임차인 외에 미확인 임차인인 신복순과 주식회사 이반미라클이 등록되어있어 임차인으로 등재함.
- 본 부동산 1층 사무실에서 만난 임차인 이호준을 만나 임대차계약서를 제출하여 임차인으로 등재함.

1
소재지 충청남도 홍성군 홍성읍 문화로33번길 25
점유인 신복순(임차인)
점유부분 미상(기타)
점유기간 미상
보증금/차임 5,000,000/300,000
전입/확정일자 2020.07.21/미상
2
소재지 충청남도 홍성군 홍성읍 문화로33번길 25
점유인 전선영(임차인)
점유부분 1층 일부분(점포)
점유기간 2020.08.10.~2022.08.09.
보증금/차임 10,000,000/500,000
전입/확정일자 2020.08.11/2020.08.11
3
소재지 충청남도 홍성군 홍성읍 문화로33번길 25
점유인 주식회사 이반미라클(임차인)
점유부분 미상(기타)
점유기간 미상
보증금/차임 5,000,000/400,000
전입/확정일자 2023.05.04/미상
4
소재지 충청남도 홍성군 홍성읍 문화로33번길 25
점유인 이호준(임차인)
점유부분 1층 일부분(점포)
점유기간 2017.03.01.~2019.02.28.
보증금/차임 35,000,000/미상
전입/확정일자 미상/미상

미납관리비 조사내역

확인일자 미납금액 관리소번호 메모

※ 해당 정보는 참고용으로 제공되며 입찰 전 반드시 관리사무소를 통해 직접 확인하시기 바랍니다.

시세

전문가

그외

관할법원 관할법원 (입찰장소)

대전지방법원 홍성지원

경매4계 : 041-640-3100

충남 홍성군 홍성읍 월산리 848 주소복사

Q&A Q&A

Q. 대법원경매가 무엇인가요?누구나 입찰에 참여할 수 있나요?

경매채무자(빌린 자)가 채무를 갚지 않았을 때 채권자(빌려준 자)의 신청으로 대법원이 채무자의 재산을 대신 매각하는 과정을 말합니다.

법원은 감정인에게 자산을 평가하게 한 후, 최저가를 정하여 그 금액 이상으로 입찰한 입찰자 중 최고가 매수인을 결정합니다.

대법원의 주관하에 국민 모두가 참여할 수 있습니다.

Q. 경매 입찰은 어떻게 하나요?누구나 입찰에 참여할 수 있나요?

1. 입찰하시고자 하는 경매물건을 정하신 후, 입찰하시고자 하는 입찰가를 최저가 이상으로 정합니다.

2. 해당 물건의 매각기일에 직접 관할법원에 방문하셔서 법원내에 비치된 입찰서를 작성하신 후 입찰하시면 됩니다.

TIP! 법원에 가실 때에는 입찰보증금(최저가의 10~30%)과 신분증을 지참하여 방문하세요.

Q. 용어가 너무 어려워서 내용을 이해하기 어려워요누구나 입찰에 참여할 수 있나요?

매각기일
매각기일은 경매 법원이 부동산에 대하여 매각 입찰을 진행하는 날을 말합니다.

유찰
매각 기일에 매수하고자 하는 사람이 없어 매각되지 않아 무효가 되는 것을 유찰이라고 합니다.

최저 매각 가격
최초 경매를 진행할때 감정인이 평가한 가격을 기준으로 책정한 금액이며 입찰자는 최저 매각 가격과 동일하거나 이상의 금액으로 입찰해야 합니다. 매각 기일에 있어 입찰자가 없어 유찰되면 통상 20~30% 저감된 금액이 다음 최저 매각 가격이 됩니다.

매수 보증금
경매 물건을 매수하고자 하는사람은 최저 매각 가격의 10분의 1(다르게 정해질 수 있음)에 해당하는 보증금액을 입찰표와 함께 집행관에게 제출하는 방법으로 제공합니다. 매각 절차가 종결된 후 집행관은 최고가 매수신고인이나 차순위매수신고인 이외의 매수신청인에게는 즉시 매수 보증금을 반환해 줍니다.

더 많은 내용을 알고 싶다면 경매마당 학습하기 코너에 준비된 용어설명을 이용해보세요.

경매정보는 법원자료와 일치하도록 하였으나 권리사항변동, 입력착오 등의 원인으로 사실과 다를 수 있습니다. 이용약관에 의거 면책조건으로 제공됨을 알리며, 경매입찰시 반드시 관련 공부를 재확인하시기 바랍니다.

PC버전으로 보기