알림

알림 내역

알림 신청내역/취소

대법원
물건내역
사건내역
기일내역
송달내역
현황조사
지도
사진보기
문서
매각기일공고문
매각물건명세서
감정평가서
등기부등본
전입세대열람원 M
건축물대장 M
분석
예상배당표 M
수익률분석 M
입찰가분석 M
조회수분석 M
인근지역통계 M
사이트
대법원
국토부 실거래가
토지이음
아실
네이버 단지정보
네이버 매물정보
호갱노노
부동산플래닛
로고 대전지방법원 천안지원 [경매3계] 2024타경5263[1]
충청남도 아산시 방축동 591-12 외 4 필지

충남 아산시 방축동 591-12

주소복사
경매구분 강제경매
용도 대지
토지 2112㎡(638.88평)
건물 -
감정가 26,930,510원
최저가 10,781,000원
보증금 2,156,200원 (20%)
청구액 44,075,409원
개시결정 2024년 10월 15일
감정일 2024년 11월 30일
배당종기 2025년 01월 15일
매각일 2025년 08월 25일
2024타경5263[1]
2024타경5263[1]
2024타경5263[1]
2024타경5263[1]
2024타경5263[1]
2024타경5263[1]
2024타경5263[1]
2024타경5263[1]
2024타경5263[1]
2024타경5263[1]
2024타경5263[1]
2024타경5263[1]
2024타경5263[1]
2024타경5263[1]
2024타경5263[1]
2024타경5263[1]
2024타경5263[1]
2024타경5263[1]
2024타경5263[1]
2024타경5263[1]
2024타경5263[1]
2024타경5263[1]
2024타경5263[1]
2024타경5263[1]
2024타경5263[1]
2024타경5263[1]
2024타경5263[1]
2024타경5263[1]
2024타경5263[1]
2024타경5263[1]
2024타경5263[1]
2024타경5263[1]
2024타경5263[1]
2024타경5263[1]
2024타경5263[1]
2024타경5263[1]
2024타경5263[1]
2024타경5263[1]
2024타경5263[1]
2024타경5263[1]
2024타경5263[1]
2024타경5263[1]
2024타경5263[1]
2024타경5263[1]
감정가
2693만510원
4만2153원/평
낙찰가 60%
1079만원
배당종결 2025년 08월 25일
유찰 2회지분매각선순위임차인법정지상권재매각
유찰 2회지분매각선순위임차인법정지상권재매각
경매구분 강제경매
용도 대지
토지 2112㎡(638.88평)
건물 -
감정가 26,930,510원
최저가 10,781,000원
보증금 2,156,200원 (20%)
청구액 44,075,409원
개시결정 2024년 10월 15일
감정일 2024년 11월 30일
배당종기 2025년 01월 15일
매각일 2025년 08월 25일
배당종결 2025년 08월 25일

당사자 내역

채무자겸소유자 김OO
채권자 강OO
공유자 차OO
공유자 조O
공유자 이OO
공유자 이OO
공유자 김OO
공유자 이OO
교부권자 노OOOO
교부권자 아OO
공유자 박OO
공유자 김OO
공유자 박OO
공유자 김OO
공유자 김OO
공유자 김OO
공유자 김OO
공유자 김OO
공유자 김OO
임차인 우OO
임차인 박OO
임차인 김OO
공유자 김OO

기일 내역

2025.10.02(16:00)
납부
2025.09.01(16:00)
최고가매각허가결정
2025.08.25(10:00)
1079만원 매각
1078만1000원 최저가
2025.05.28(16:00)
미납
2025.04.28(16:00)
최고가매각허가결정
2025.04.21(10:00)
1450만원 매각
1078만1000원 최저가
2025.03.17(10:00)
1540만2000원 유찰
2025.02.10(10:00)
2200만2300원 유찰

매각공고

물건 비고(공고문)

1.일괄매각[매각에서 제외되는 건물있음] 2.공유자 우선매수는 1회에 한함(1회에 한하여 허용). 3.2번목록 토지 공부상 '대지'이나 현황은 일부 '도로'임. 4.최저매각가격은 제시외 건물로 인하여 제한받는 가격임.

물건 비고(매각 명세서)

1.일괄매각[매각에서 제외되는 건물있음]
2.공유자 우선매수는 1회에 한함(1회에 한하여 허용).
3.2번목록 토지 공부상 '대지'이나 현황은 일부 '도로'임.
4.최저매각가격은 제시외 건물로 인하여 제한받는 가격임.

매각결과+

매각일자 / 결과 응찰자수 최고가 금액/응찰자명 차순위 금액

가장 빠른 경매 정보 플랫폼 경매마당
남들보다 먼저 정보를 선점하세요

간단한 로그인 후 바로 이용 가능합니다

bolt 대법원 보다 빠른 물건 정보
verified 가장 많은 경매 물건 제공
trending_up 월 5회 등기부 무료 열람

현황정보

매각목록

부동산 현황

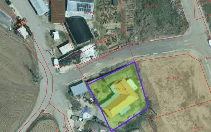
1) 위치 및 주위환경 대상물건은 충청남도 아산시 방축동 소재 "신정호" 동측 인근에 소재하며, 부근은 단독주택, 상가, 농경지 등이 섞여 있는 미성숙 주택지대입니다. 2) 교통상황 대상물건 또는 대상물건 인근까지 차량접근 가능하며, 인근에 버스정류장이 소재하는 등 대중교통사정은 보통입니다. 3) 형태 및 이용상태 기호 1,6,7: 사다리 평지로서 단독주택으로 이용중이며, 기호 2: 부정형 평지로서 주거나지 및 일부 도로로 이용중이며, 기호 3: 부정형 평지로서, 단독주택으로 이용중이며, 기호 4,5: 대체로 사다리 평지로서 밭으로 이용중입니다. 4) 인접 도로상태 기호 1,2,6: 서측으로 세로의 아스콘 포장도로를 이용하고 있으며, 기호 3,4: 서측으로 폭 1m의 비포장 농로를 이용중이며, 기호 5: 지적도상 맹지로서 인근 토지를 통하여 접근하고 있으며, 기호 7: 북측으로 세로의 아스콘 포장도로를 이용하고 있습니다. 5) 토지이용계획 및 제한상태 기호 1-3,6,7: 보전녹지지역, 자연취락지구, 성장관리계획구역(동지역06(특별관리형)), 가축사육제한구역(일부제한구역350)<가축분뇨의 관리 및 이용에 관한 법률>, 가축사육제한구역(전부제한구역)<가축분뇨의 관리 및 이용에 관한 법률>, 중점경관관리구역(신정호)이며, 기호 4: 보전녹지지역, 성장관리계획구역(동지역06(특별관리형)), 가축사육제한구역(일부제한구역350)<가축분뇨의 관리 및 이용에 관한 법률>, 가축사육제한구역(전부제한구역)<가축분뇨의 관리 및 이용에 관한 법률>, 중점경관관리구역(신정호)이며, 기호 5: 보전녹지지역, 성장관리계획구역(동지역06(특별관리형)), 가축사육제한구역(일부제한구역350)<가축분뇨의 관리 및 이용에 관한 법률>, 중점경관관리구역(신정호)입니다. 6) 제시목록 외의 물건 기호 1-3,6,7: 별지 "사진용지"와 같이 타인 소유로 탐문조사된 제시외 건물, 수목 및 철거가 쉬운 비닐하우스 등이 소재합니다. 7) 공부와의 차이 기호 2: 지목에 있어서 "대"이나 일부를 "도로"로 이용중입니다. 8) 기타참고사항(임대관례 및 기타) 임대관계: 현장사정상 확인할 수 없었습니다. 기타: 없습니다.

주변 입주 예정

거리 단지명 공급년월 세대 수
※ 해당 자료는 한국부동산원 청약홈 자료에 근거하며, 인근 5km 이내의 물건을 기준으로 산정되었습니다.

임차인

임차인현황

임차인 보증금/차임 전입/확정/배당 대항력
[현황조사]
김OO
(주거임차인)
점유부분:
미상
보증:
-
차임:
-
전입: 1968-10-20
확정: -
배당: -
멤버십
[현황조사]
박OO
(주거임차인)
점유부분:
미상
보증:
-
차임:
-
전입: 1995-02-09
확정: -
배당: -
멤버십
[현황조사]
우OO
(주거임차인)
점유부분:
미상
보증:
-
차임:
-
전입: 1968-10-20
확정: -
배당: -
멤버십

현황 조사(현황 조사서)

부동산 목록

점유 조사(현황 조사서)

[목록1]전입세대확인서에 김필수 세대가 등재되어 있음
[목록3]전입세대확인서에 박남리 세대가 등재되어 있음
[목록6]전입세대확인서에 등재된 세대가 없음
[목록7]전입세대확인서에 우순예 세대가 등재되어 있음

미납관리비 조사내역 미납관리비 유의사항

확인일자 미납금액 관리소번호 메모

등기

등기부현황

채권합계 -
등기일자 권리종류 권리자/채권액 권리
2024-10-15
(갑19)
강제경매개시결정
(2024타경5263)
강OO OO
말소기준
경매기입 등기
44,075,409원
※ 신규 발급등기의 분석자료 반영에는 최대 1일까지 소요될수 있습니다.(등기분석,임차인분석,분석노트 등)

지상권(매각 명세서)

2번 토지를 제외한 1,3,6,7.번 토지는 지상건물을 위하여 대지 부분에 법정지상권이 성립할여지 있음.

시세분석

낙찰가 및 실거래가

낙찰 가격분포

주변 낙찰사례의 가격대와 거래 시점을 그래프로 확인할 수 있어요

전체 0

기타

전문가

관할법원 (입찰장소)

대전지방법원 천안지원

경매3계 : 041-620-3000

충남 천안시 동남구 청당동 476 주소복사

Q&A

Q. 대법원경매가 무엇인가요?누구나 입찰에 참여할 수 있나요?

경매채무자(빌린 자)가 채무를 갚지 않았을 때 채권자(빌려준 자)의 신청으로 대법원이 채무자의 재산을 대신 매각하는 과정을 말합니다.

법원은 감정인에게 자산을 평가하게 한 후, 최저가를 정하여 그 금액 이상으로 입찰한 입찰자 중 최고가 매수인을 결정합니다.

대법원의 주관하에 국민 모두가 참여할 수 있습니다.

Q. 경매 입찰은 어떻게 하나요?누구나 입찰에 참여할 수 있나요?

1. 입찰하시고자 하는 경매물건을 정하신 후, 입찰하시고자 하는 입찰가를 최저가 이상으로 정합니다.

2. 해당 물건의 매각기일에 직접 관할법원에 방문하셔서 법원내에 비치된 입찰서를 작성하신 후 입찰하시면 됩니다.

TIP! 법원에 가실 때에는 입찰보증금(최저가의 10~30%)과 신분증을 지참하여 방문하세요.

Q. 용어가 너무 어려워서 내용을 이해하기 어려워요누구나 입찰에 참여할 수 있나요?

매각기일
매각기일은 경매 법원이 부동산에 대하여 매각 입찰을 진행하는 날을 말합니다.

유찰
매각 기일에 매수하고자 하는 사람이 없어 매각되지 않아 무효가 되는 것을 유찰이라고 합니다.

최저 매각 가격
최초 경매를 진행할때 감정인이 평가한 가격을 기준으로 책정한 금액이며 입찰자는 최저 매각 가격과 동일하거나 이상의 금액으로 입찰해야 합니다. 매각 기일에 있어 입찰자가 없어 유찰되면 통상 20~30% 저감된 금액이 다음 최저 매각 가격이 됩니다.

매수 보증금
경매 물건을 매수하고자 하는사람은 최저 매각 가격의 10분의 1(다르게 정해질 수 있음)에 해당하는 보증금액을 입찰표와 함께 집행관에게 제출하는 방법으로 제공합니다. 매각 절차가 종결된 후 집행관은 최고가 매수신고인이나 차순위매수신고인 이외의 매수신청인에게는 즉시 매수 보증금을 반환해 줍니다.

더 많은 내용을 알고 싶다면 경매마당 학습하기 코너에 준비된 용어설명을 이용해보세요.

경매정보는 법원자료와 일치하도록 하였으나 권리사항변동, 입력착오 등의 원인으로 사실과 다를 수 있습니다. 이용약관에 의거 면책조건으로 제공됨을 알리며, 경매입찰시 반드시 관련 공부를 재확인하시기 바랍니다.

PC버전으로 보기